От Варшавы до Манчжурии
Достоверно известно, что Михаил Накашидзе действительно был горячим сторонником развития нового в ту пору самодвижущегося транспорта и популяризатором автомобильной техники, фактически предсказавшим замену кавалерии бронированными машинами.

Еще в 1902 году в Петербурге вышла в свет его книга «Автомобиль, его экономическое и стратегическое значение для России». Словом, если бы в те давние времена существовал Интернет, то темпераментный подъесаул наверняка был бы постоянным автором портала Колёса.ру.
Возможно, книга не произвела на российское общество должного впечатления, и князь принял решение строить и продавать автомобили самостоятельно. В 1903 году на паях с графом Потоцким и полковником Головиным он он открыл в Варшаве автотранспортное предприятие «Большой международный гараж автомобилей». Фирма занималась продажами французских машин «Панар-Левассор» и собирала собственные автомобили из французских комплектующих. То есть, Михаил Накашидзе и в этом предвосхитил деятельность современных автозаводов по производству иномарок на территории России.
В том же году Накашидзе начал работать с французской фирмой «Шаррон, Жирардо, Вуа» (Charron, Giarardot, Voigt), основанной в 1901 году. По некоторым данным, князь был одним из акционеров этого предприятия. Во всяком случае, в переписке с представителями Генерального штаба он порой представлялся как «директор отдела броневых автомобилей фирмы «Шаррон».
Действительно, в 1902 году компания «Шаррон, Жирардо, Вуа» представила на парижской выставке бронеавтомобиль, вооруженный 8-мм пулеметом Гочкиса, который также прошел испытания во время маневров французской кавалерии. А в 1905 году сотрудник фирмы «Шаррон», отставной артиллерист Гюйе, спроектировал полностью бронированный автомобиль с вращающейся на 360 градусов пулеметной башней. Позже конструкция башни приписывалась Накашидзе, хотя известно, что патент на нее за № 363712 принадлежит именно Гюйе.
В 1905 году Михаил Накашидзе отправился добровольцем на русско-японскую войну во главе им же сформированной команды разведчиков. Там он продолжал убеждать всех в той пользе, которую могут принести военной разведке бронемашины. В частности, летом 1905 года он направил командующему Манчжурской армией генерал-адъютанту Николаю Линевичу предложение: заказать во Франции броневик и испытать его в боевых условиях. Стоимость новой машины составляла 30 тысяч царских рублей, что было не просто дорого, а запредельно дорого (для сравнения: казачья лошадь стоила в ту пору около 100 рублей).

Будучи знакомым с армейской бюрократией, доставить машину в Россию подъесаул предложил за свой счет, на что и получил согласие. Так вот, как раз в вопросах о том, являлся ли он в действительности сотрудником компании-поставщика и имел ли непосредственное отношение к проектированию данного бронеавтомобиля, мнения историков расходятся. Мы же перейдем, наконец, к конструкции машины и ее техническим характеристикам.
От колес до башни
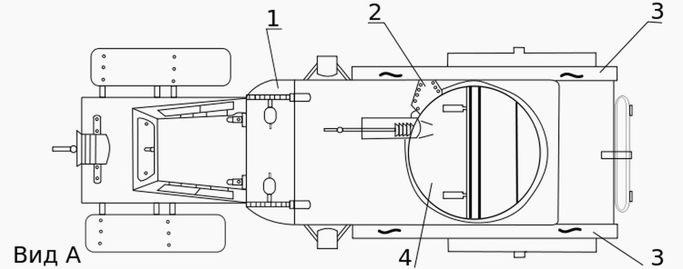
Подобно тому, как впоследствии танк Renault FT-17 стал «отцом» классической компоновки танков, броневик «Шаррон – Накашидзе» стал образцом для большинства бронемашин того времени, в первую очередь – французских, русских и немецких. Двигательный отсек располагался спереди, ведущие колеса – задние (формула 4х2). Отделение управления находилось в передней части броневого корпуса: место водителя – слева, командира – справа. За их спиной – боевое отделение с пулеметной башней, запасным пулеметом и боекомплектом (2400 патронов) в кормовой нише. Патроны укладывались в 10 металлических ящиков по 10 пачек в каждом.
В боевом отделении находились стрелок и его «второй номер», их сиденья во время боя складывались. В боевое отделение при необходимости мог втиснуться и небольшой десант (4-5 человек). Там же помещались два вертикальных бака – для 140 литров бензина и 20 литров масла. Остальной бензин находился в баках под сиденьями водителя и командира. Для внутреннего освещения применялись лампочки накаливания, для освещения дороги – съемная фара-прожектор.
Двигатель – французский четырехцилиндровый карбюраторный, мощностью 37 л. с. Коробка передач была смонтирована отдельно от двигателя, привод на колеса – цепной. Колеса были защищены стальными дисками и имели сплошные резиновые шины (в некоторых источниках указаны как «дутые»). Подвеска – зависимая, на полуэллиптических продольных рессорах.

По сухому грунту машина была способна преодолевать подъем до 25 градусов. В комплект входили переносные мостки для преодоления рвов шириной 3 метра. В походном положении они крепились снаружи, по бортам бронеавтомобиля. Мощность двигателя позволяла развивать скорость до 50 км/ч (по некоторым данным – 60 верст в час, т.е. 64 км/ч). Однако по результатам испытаний выяснилось, что шины не выдерживали скорости более 20 км/ч, нагревались и расслаивались.
Корпус и башня – клепаные, из хромоникелевой брони толщиной 4,5 мм. В качестве приборов наблюдения впервые были применены смотровые щели и перископ. В походном положении крышки лобового и башенного люков поднимались в горизонтальное положение. Могли открываться и броневые листы, защищавшие четыре боковых окна. Посадка и высадка производились через боковую дверь.
Башня конструкции Гюйе не имела подшипников (они появились в поворотных башнях гораздо позже). Она опиралась на колонну, установленную на полу боевого отделения. На этой колонне был установлен ходовой винт и колесо с гайкой, с помощью которых башню можно было приподнять и повернуть на 360 градусов. В походном положении башня опиралась на корпус.
По результатам испытаний – отказать
Бронеавтомобиль прибыл в Россию аккурат к окончанию русско-японской войны и принять участие в боевых действиях не успел. Его доставили в Петербург, где гоняли по шоссейным дорогам и бездорожью в Ораниенбаум и Токсово. По нему стреляли из винтовки и стреляли в цель из его штатного пулемета Гочкиса, а также установленного в башню состоявшего на вооружении российской армии «Максима».

Результаты испытаний оказались неутешительными. Бронеавтомобиль не мог ездить по размокшей сырой немощеной дороге и даже по неглубокому снегу. На сухих песчаных дорогах Карельского перешейка он вяз буквально по оси, цеплял бампером за камни и отрывал низко расположенную выхлопную трубу. Для разворота ему был необходим круг диаметром 17,5 аршин (12,5 метров) или пространство шириной 9,5 аршин (6,75 метров) для разворота последовательным движением вперед – назад.
Из-за тяжелой башни центр тяжести бронеавтомобиля был поднят очень высоко, в результате он легко заваливался набок. Вести прицельную стрельбу было возможно только с остановки, одновременно вращать башню и прицеливаться во время движения было невозможно. Мертвая зона при этом составляла 15 метров. Вдобавок французскую броню патрон из винтовки Мосина калибра 7,62 мм пробивал со 150 шагов (105 метров) навылет.
Так что неудивительно, что по результатам испытаний бронеавтомобиль на вооружение не приняли.
Взрыв на даче Столыпина
Михаил Накашидзе пытался модернизировать бронеавтомобиль с учетом замечаний комиссии. Он выставил рекламацию производителю брони, получил новые листы из Франции, и Путиловский завод произвел их замену. Были также внесены и другие изменения, в частности, щели для обзора сделали уже, а также прорезали смотровую щель в корме. Но главным недостатком оставалась низкая проходимость по бездорожью, и эту проблему преодолеть при том уровне развития автомобилестроения оказалось невозможным – полноприводная эра была впереди.

В своих письмах военному ведомству князь сообщал, что согласно его «секретным сведениям» немцы закупают у французов сто таких машин, а японцы ведут переговоры о закупке 150 бронеавтомобилей. Однако эти заявления были абсолютно голословными, и как показала история – еще и неправдой. Тогда Накашидзе решил предложить броневики полицейскому ведомству для борьбы с массовыми беспорядками. 25 (12) августа 1906 года он пришел с этим проектом на прием к премьер-министру Петру Столыпину. И именно в тот момент, когда князь ждал своей очереди, в приемную вошли двое террористов и метнули портфели с бомбами. Столыпин спасся чудом, Накашидзе не повезло. После его смерти проект продвигать было некому, во всяком случае – с таким энтузиазмом.
После князя
Всего фирма «Шаррон» изготовила 12 подобных бронемашин в расчете на русских покупателей (есть противоречивая информация о том, что Накашидзе успел-таки их заказать – на свой страх и риск). Согласно французским источникам, шесть броневиков отправили в Россию в конце 1906 или начале 1907 года, но через российскую границу их не пропустили. Две машины при этом достались Германии: то ли они были реквизированы, то ли приобретены с большой скидкой (чуть ли не в 40%).
Оба эти броневика использовались немцами в боях в Восточной Пруссии в августе 1914 года. Еще один бронеавтомобиль был выкуплен у фирмы «Шаррон» французским военным ведомством. В том же 1914 году он воевал в составе кавалерийского корпуса генерала Сордэ. Считается, что французы использовали броневик в качестве «охотника за дирижаблями», то есть, он стал вдобавок еще и дедушкой современных передвижных зенитных комплексов.
Поставленный в Россию броневик был еще до войны освобожден от брони и вооружения и использовался в качестве обычного штабного автомобиля. Куда делись остальные 8 броневиков – неизвестно. Возможно, они все-таки были проданы французами в Россию, но участия ни в империалистической, ни в гражданской войне почему-то не принимали. Возможно, их постигла та же «конверсия», что и их предшественника.
Краткие технические характеристики
| Изготовитель | Charron, Giarardot, Voigt (Франция) |
| Объем выпуска | 12 машин |
| Колесная формула | 4х2 |
| Боевая масса | 2,95 тонн |
| Габариты, мм ( ДхШхВ ) | 4800 х 1700 х 2400 |
| Преодолеваемый подъем | 25 градусов |
| Тип подвески | Зависимая, на листовых рессорах |
| Тип двигателя | Карбюраторный Charron 4-цилиндровый, рядный, жидкостного охлаждения |
| Максимальная мощность | 37 л. с. |
| Максимальная скорость | 50 км/час |
| Запас хода по шоссе | 500 км |
| Преодолеваемый ров | 3 м (с мостками) |
| Броня | 4,5 мм |
| Экипаж | 4 человека |
| Вооружение | 8-мм пулемет «Гочкис» |




Для комментирования вам необходимо авторизоваться
При чем тут Накашидзе? Машина целиком французского производства и с французским водителем...
Отставной кавалерийский офицер князь М.А. Накашидзе был горячим энтузиастом этого нового вида техники. Данный автомобиль он предложил выписать из Парижа через его посредничество.
На этом ВСЕ...
При чем тут Накашидзе? Машина целиком французского производства и с французским водителем...
Отставной кавалерийский офицер князь М.А. Накашидзе был горячим энтузиастом этого нового вида техники. Данный автомобиль он предложил выписать из Парижа через его посредничество.
На этом ВСЕ...