BMW давно имеет репутацию автопроизводителя, который не поощряет неавторизованный ремонт своих автомобилей и изобретает различные хитроумные средства защиты от гаражных механиков. В основном это различный специнструмент, которого нет в широкой продаже. Достать такой инструмент, конечно, при желании можно, но нужно постараться и потратиться.
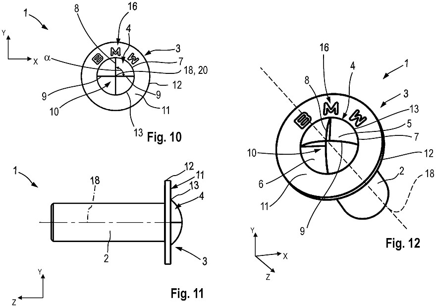
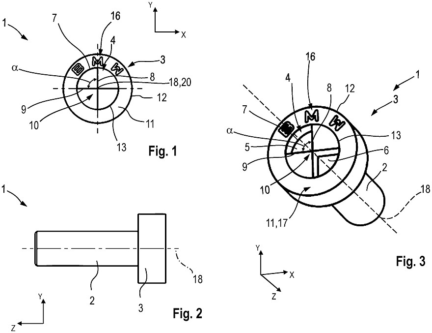
В свежей заявке баварской компании на фирменные винты буквально сказано, что такие винты нужны, чтобы исключить их закручивание/откручивание неспециалистами. Головки винтов выполнены в виде эмблемы BMW, эти головки могут быть плоскими, выпуклыми или иметь углубление. Центральная часть эмблемы BMW — это, как известно, четыре сектора, изображающих пропеллер, два таких сектора на головке фирменного винта представляют собой выемки под специальный инструмент. Форма этих выемок тоже может варьироваться, то есть в теории авторизованному механику BMW может понадобиться целая батарея фирменных отвёрток или насадок.
Фирменные винты предполагается использовать в основном для креплений деталей интерьера и в тех местах, доступ к которым нужен относительно редко, но ясно, что при желании можно и колёса ими прикрутить — это будет дико неудобно, зато эффектно.
Пока неясно, когда BMW собирается наладить выпуск и начать широкое использование фирменных винтов. Не исключено, что фирменных винтов вообще не будет и что патент на них нужен просто на всяких случай.




Для комментирования вам необходимо авторизоваться